Osker Block SWR-200
Japan ~ 197
8

English Click to enlarge Italiano
 Click sulle immagini per ingrandire    Click on the images to enlarge  
Click to enlarge Click to enlarge Click to enlarge
Click to enlarge Click to enlarge Click to enlarge

SWR & Power Meter SWR-200 - Osker Block Electronic Eng. Co., Ltd. - Tokyo, Giappone ~ 1978.

Questo strumento serve a misurare la Potenza in uscita da un trasmettitore e il rapporto di onde stazionarie, che è l'indicazione della potenza riflessa dall'antenna se questa non è ben tarata. La gamma di frequenza coperta va da 3 a 200 MHz e la potenza massima applicabile varia da 2 KW a 200 Watt a seconda della frequenza. L'SWR-200 può essere utilizzato con trasmettitori e antenne con impedenza di 52 o 75 Ohm.

L'SWR-200 utilizza un sistema di misura a guida d'onda e a causa delle inevitabili imprecisioni costruttive, ogni singolo esemplare utilizza due tabelle di lettura di potenza, una per antenne con impedenza di 52 Ohm e l'altra per i 75 Ohm. Ogni esemplare SWR ha un numero di serie e le tabelle di potenza sono impresse sul fronte e sul retro di una tessera plastificata allegata che può essere utilizzata solo su quel numero seriale. L'utilizzo di una tabella non originale può dare errori nella lettura della potenza.

I comandi presenti sullo strumento sono solo due: un pulsante laterale (destra-sinistra) che serve a far scorrere una barra all'interno per selezionare 52 o 75 Ohm di impedenza, e la manopola per l'impostazione sul nonio dei valori ricavati dalle tabelle a seconda dell'impedenza e della potenza in uso per ottenere la corretta lettura delle Onde Stazionarie.

L'SWR-200 è uno strumento molto robusto e abbastanza preciso che ho utilizzato con successo per parecchi anni prima di sostituirlo con uno strumento più moderno.

© IK3HIA, 2007.
 Click sulle immagini per ingrandire    Click on the images to enlarge    
Click to enlarge   Click to enlarge
Click to enlarge Click to enlarge Click to enlarge

SWR & Power Meter SWR-200 - Osker Block Electronic Eng. Co., Ltd. - Tokyo, Japan ~ 1978.

This instrument is used to measure the output power of a transmitter and the Standing Wave Ratio, which is the indication of the power reflected by the antenna if it is not properly calibrated. The frequency range covered is from 3 to 200 MHz and the maximum applicable power varies from 2 KW to 200 Watts depending on the frequency. The SWR-200 can be used with transmitters and antennas with an impedance of 52 or 75 Ohm.

The SWR-200 uses a waveguide measurement system and due to the inevitable construction inaccuracies, each individual model uses two power reading tables, one for antennas with an impedance of 52 Ohm and the other for 75 Ohm. Each SWR specimen has a serial number and the power tables are printed on the front and back of an attached plastic card that can be used only on that serial number. The use of a non-original table can give errors in the power reading.

There are only two controls on the instrument: a side button (right-left) that is used to slide a bar inside to select 52 or 75 Ohm of impedance, and the knob for setting the values ​​obtained from the tables on the vernier depending on the impedance and power in use to obtain the correct reading of the Standing Waves.

The SWR-200 is a very robust and fairly precise instrument which I used successfully for several years before replacing it with a more modern instrument.

© IK3HIA, 2007.
Click to enlarge
52 Ohm table

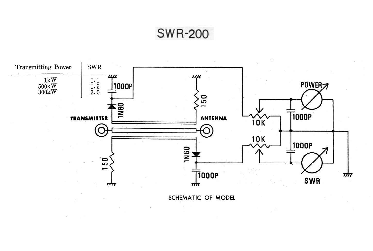
Schematic diagram
Click to enlarge
75 Ohm table
Return to top of page Torna a inizio pagina 

Go up - torna su. Return to: ik3hia home page Go up - torna su. Return to Old Ham radio page